目录

银杏科技有限公司旗下技术文档发布平台
技术支持电话0379-69926675-801
技术支持邮件Gingko@vip.163.com
版本 日期 作者 修改内容
V1.0 2020-07-03 gingko 初次建立

实验四:USART通信实验——通过命令控制LED

一、 实验目的与意义

  1. 了解STM32 GPIO结构。
  2. 了解STM32 GPIO 特征。
  3. 掌握USART的使用方法。
  4. 掌握STM32 HAL库中USART属性的配置方法。
  5. 掌握KEIL MDK 集成开发环境使用方法。

二、 实验设备及平台

  1. iCore4 双核心板点击购买
  2. JLINK(或相同功能)仿真器点击购买
  3. Micro USB线缆。
  4. Keil MDK 开发平台。
  5. STM32CubeMX开发平台。
  6. 装有WIN XP(及更高版本)系统的计算机。

三、 实验原理

1、STM32F7串口简介

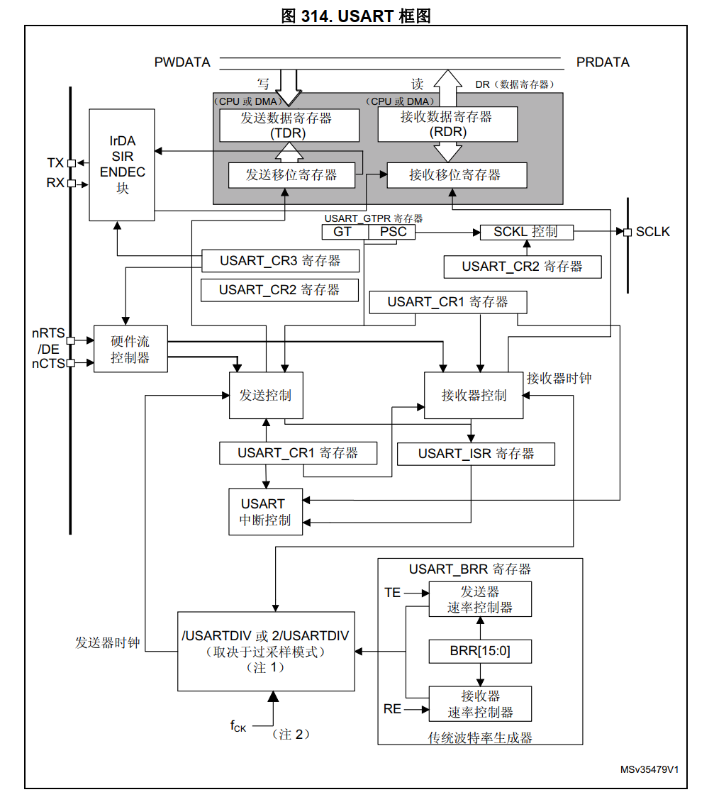
2、USART框图

3、USART字符说明

LED_RED_ON\r\n LED红灯亮
LED_RED_OFF\r\n LED红灯灭
LED_BLUE_ON\r\n LED蓝灯亮
LED_BLUE_OFF\r\n LED蓝灯灭
LED_GREEN_ON\r\n LED绿灯亮
LED_GREEN_OFF\r\n LED绿灯灭

四、 实验程序

1、 主函数

int main(void)
{
  int i;
  char buffer[20];
  /* MCU 配置*/
  /* 重置所有外围设备,初始化Flash接口和Systick */
  HAL_Init();
  /* 配置系统时钟 */
  SystemClock_Config();
  /* 初始化所有已配置的外围设备 */
  MX_GPIO_Init();
  MX_USART6_UART_Init();
 
  usart6.initialize(9600);                      //串口波特设置
  usart6.printf("Hello, I am iCore4!\r\n");  //串口信息输出
 
  while (1)
  {
        if(usart6.receive_ok_flag){     //接受完成
            usart6.receive_ok_flag = 0;
            for(i = 0;i < 20;i++){
                buffer[i] = tolower(usart6.receive_buffer[i]);
            }
            //比较接受信息
            if(memcmp(buffer,"led_red_on",strlen("led_red_on")) == 0){
                LED_RED_ON;
                usart6.printf("ok!\r\n");
            }
            if(memcmp(buffer,"led_red_off",strlen("led_red_off")) == 0){
                LED_RED_OFF;
                usart6.printf("ok!\r\n");
            }  
         if(memcmp(buffer,"led_green_on",strlen("led_green_on")) == 0){
                LED_GREEN_ON;
                usart6.printf("ok!\r\n");
            }   
         if(memcmp(buffer,"led_green_off",strlen("led_green_off")) == 0){
                LED_GREEN_OFF;
                usart6.printf("ok!\r\n");
            }   
         if(memcmp(buffer,"led_blue_on",strlen("led_blue_on")) == 0){
                LED_BLUE_ON;
                usart6.printf("ok!\r\n");
            }   
         if(memcmp(buffer,"led_blue_off",strlen("led_blue_off")) == 0){
                LED_BLUE_OFF;
                usart6.printf("ok!\r\n");
            }        
        }
    }
}

2、 UART结构体定义

    UART_HandleTypeDef huart6;
typedef struct __UART_HandleTypeDef   
{  
  USART_TypeDef                  *Instance;   
//UART寄存器基地址  
  UART_InitTypeDef               Init;      
  //UART通讯参数 
  UART_AdvFeatureInitTypeDef   AdvancedInit;  
  //UART高级功能初始化参数
  uint8_t                         * pTxBuffPtr; 
  //指向UART Tx传输缓冲区的指针  
  uint16_t                        TxXferSize;      
  //UART Tx传输大小
  __IO uint16_t                  TxXferCount;     
  //UART Tx传输计数器
  uint8_t                         * pRxBuffPtr;     
  //指向UART Rx传输缓冲区的指针 
  uint16_t                        RxXferSize;       
//UART Rx传输大小 
  __IO uint16_t                  RxXferCount;   
//UART Rx传输计数器 
  uint16_t                      Mask;           
  // UART Rx RDR寄存器掩码
  DMA_HandleTypeDef             * hdmatx;          
//UART Tx DMA句柄参数 
  DMA_HandleTypeDef             * hdmarx;          
//UART Rx DMA句柄参数  
  HAL_LockTypeDef                Lock;             
//锁定对象  
  __IO HAL_UART_StateTypeDef   gState;     
  //与全局句柄管理有关的UART状态信息并且与Tx操作有关。 
  __IO HAL_UART_StateTypeDef   RxState;          
//与Rx操作有关的UART状态信息  
  __IO uint32_t                   ErrorCode;       
 //UART错误代码  
} UART_HandleTypeDef;

3、 USART6初始化函数

void MX_USART6_UART_Init(void)
{
  huart6.Instance = USART6;
  huart6.Init.BaudRate = 115200;    //波特率
  huart6.Init.WordLength = UART_WORDLENGTH_8B; //在一帧中发送或接收的数据位数
  huart6.Init.StopBits = UART_STOPBITS_1;//停止位
  huart6.Init.Parity = UART_PARITY_NONE;//校验位
  huart6.Init.Mode = UART_MODE_TX_RX;//发送接收模式
  huart6.Init.HwFlowCtl = UART_HWCONTROL_NONE;//硬件流控制模式
  huart6.Init.OverSampling = UART_OVERSAMPLING_16;
  huart6.Init.OneBitSampling = UART_ONE_BIT_SAMPLE_DISABLE;
  huart6.AdvancedInit.AdvFeatureInit = UART_ADVFEATURE_NO_INIT;
 
  if (HAL_UART_Init(&huart6) != HAL_OK)
  {
    _Error_Handler(__FILE__, __LINE__);
  }
}

4、 串口发送/接收函数

HAL_UART_Transmit(UART_HandleTypeDef *huart, uint8_t *pData, uint16_t Size, uint32_t Timeout)
HAL_UART_Receive_IT(UART_HandleTypeDef *huart, uint8_t *pData, uint16_t Size)

5、 串口中断函数

HAL_UART_IRQHandler(UART_HandleTypeDef *huart); 
//串口中断处理函数
HAL_UART_TxCpltCallback(UART_HandleTypeDef *huart);  
//串口发送中断回调函数
HAL_UART_TxHalfCpltCallback(UART_HandleTypeDef *huart);  
//串口发送一半中断回调函数(用的较少)
HAL_UART_RxCpltCallback(UART_HandleTypeDef *huart);  
//串口接收中断回调函数
HAL_UART_RxHalfCpltCallback(UART_HandleTypeDef *huart);
//串口接收一半回调函数(用的较少)
HAL_UART_ErrorCallback();
//串口接收错误函数
HAL_UART_RxCpltCallback(UART_HandleTypeDef *huart); 
HAL_UART_IRQHandler(UART_HandleTypeDef *huart);  
HAL_UART_GetState(); //判断UART的接收是否结束,或者发送数据是否忙碌

五、 实验步骤

  1. 把仿真器与iCore4的SWD调试口相连(直接相连或者通过转接器相连);
  2. 把iCore4通过Micro USB线与计算机相连,为iCore4供电;
  3. 打开Keil MDK 开发环境,并打开本实验工程;
  4. 烧写程序到iCore4上;
  5. 也可以进入Debug 模式,单步运行或设置断点验证程序逻辑。

六、 实验现象